การปรับปรุงพันธุ์ข้าวในประเทศไทย ชาวนาผู้ปลูกข้าวได้ดำเนินการคัดเลือกหาพันธุ์ที่เหมาะกับสภาพพื้นที่ปลูก และรสชาติตามที่ตนต้องการมาเป็นเวลานานแล้ว แต่การปรับปรุงพันธุ์ตามหลักวิชาการของทางราชการ ได้เริ่มเมื่อปี พ.ศ. 2450 เมื่อพระบาทสมเด็จพระจุลจอมเกล้าเจ้าอยู่หัวทรงโปรดเกล้าฯ ให้มีการประกวดพันธุ์ข้าวขึ้นเป็นครั้งแรกในประเทศไทยที่เมืองธัญญบุรี (ปัจจุบันเขียนเป็นธัญบุรี) และพันธุ์ข้าวจากเมืองธัญญบุรี และในปี พ.ศ. 2453 ได้จัดงานการแสดงกสิกรรมและพาณิชยการครั้งที่ 1 รวมทั้งการประกวดพันธุ์ข้าวทั่วราชอาณาจักรขึ้นที่สระปทุมวัน (วังสระปทุมในปัจจุบัน) และครั้งที่ 2 ในปี พ.ศ. 2454 (รัชกาลที่ 6) ข้าวจากเมืองธัญญบุรีก็ยังเป็นพันธุ์ข้าวที่ชนะเลิศอีก พันธุ์ข้าวที่ชนะการประกวดครั้งหลัง ๆ มีคุณภาพดีกว่าครั้งแรก ๆ แสดงว่าชาวนาได้หันมาปลูกข้าวพันธุ์ดีกันมากขึ้น
ในปี พ.ศ. 2459 ทางราชการได้จัดตั้งสถานีทดลองข้าวรังสิตหรือนาทดลองคลองรังสิตขึ้น นับเป็นสถานีทดลองข้าวแห่งแรกของประเทศไทย การจัดตั้งนาทดลองคลองรังสิต (ศูนย์วิจัยข้าวปทุมธานีในปัจจุบัน) นั้น เป็นพระราชประสงค์ของพระบาทสมเด็จพระจุลจอมเกล้าเจ้าอยู่หัวมาช้านานแล้ว แต่มีหลายสาเหตุทำให้จัดตั้งไม่ได้ และได้จัดตั้งสำเร็จในรัชสมัยของพระบาทสมเด็จพระมงกุฎเกล้าเจ้าอยู่หัว งานด้านการปรับปรุงพันธุ์ในระยะแรกมีแต่การคัดพันธุ์โดยปลูกคัดเลือกแบบรวงต่อแถว (head to row selection) จากผลการดำเนินงานของพระยาโภชากร (ตริ มิลินทสูตร) ในปี พ.ศ. 2476 ข้าวไทยชนะเลิศในการประกวดพันธุ์ข้าวทั่วโลก (World’s Grain Exhibition Conference) ที่เมืองเรจินา (Regina) ประเทศแคนาดา พันธุ์ข้าวไทยที่ชนะเลิศเป็นที่หนึ่งของโลก คือ พันธุ์ปิ่นแก้ว ซึ่งเป็นข้าวเจ้านาสวนเมล็ดยาว ใส แกร่ง เลื่อมมัน ไม่เป็นท้องไข่ เปลือกและเยื่อหุ้มเมล็ดบาง เมล็ดไม่บิดโค้ง ไม่มีเมล็ดแดงปนและน้ำหนักเมล็ดดี และได้รางวัลอื่น ๆ อีกรวม 11 รางวัล ทำให้ข้าวไทยเป็นที่รู้จักไปทั่วโลก
การปรับปรุงพันธุ์ข้าวนาสวน เริ่มขึ้นในปี พ.ศ. 2454-2465 ด้วยการรวบรวมข้าวพันธุ์ดีจากทั่วประเทศจำนวน 4,764 ตัวอย่าง คัดเลือกเอาเฉพาะตัวอย่างที่มีลักษณะดีไว้เพียง 482 ตัวอย่าง สำหรับปลูกศึกษาคัดเลือกพันธุ์ หลังจากปลูกทดสอบอยู่ 3 ปี จึงได้พันธุ์ข้าวดีเยี่ยมเพียง 8 พันธุ์ ได้แก่ พันธุ์ พวงเงิน ทองระย้าดำ ขาวทดลอง จำปาซ้อน ปิ่นแก้ว บางพระ น้ำดอกไม้ และนางตานี สำหรับขยายพันธุ์ให้เกษตรกรปลูก พันธุ์ข้าวทั้ง 8 พันธุ์นี้เป็นพันธุ์ข้าวชุดแรกที่ขยายพันธุ์และแนะนำให้เกษตรกรปลูกอย่างเป็นทางการในปี พ.ศ. 2478 ด้วยวิธีการประเมินผลผลิตของสายพันธุ์ดีเด่นจากการคัดเลือก โดยคัดเลือกพันธุ์ที่ให้ผลผลิตสูง ปรับตัวเข้ากับสภาพแวดล้อมได้ดี และมีคุณภาพของเมล็ดเป็นที่ยอมรับ วิธีการคัดเลือกเป็นวิธีการที่ใช้ในการบำรุงพันธุ์ข้าวในยุคต้น ๆ การคัดเลือกพันธุ์ข้าวโดยการพัฒนาพันธุ์ข้าวท้องถิ่นซึ่งมีทั้งข้าวนาสวนและข้าวขึ้นน้ำ ยังคงดำเนินการต่อมาและมีการรับรองและแนะนำพันธุ์ข้าวมาเรื่อยๆ เช่น พันธุ์ข้าวนาสวนที่รู้จักกันดี ได้แก่ พันธุ์นางมล เอส-4 ขาวตาแห้ง 17 หรือพันธุ์ที่มีคุณภาพเป็นที่นิยมอย่างสูง เช่น ขาวดอกมะลิ 105 และพันธุ์เหนียวสันป่าตอง เป็นต้น พันธุ์ข้าวขึ้นน้ำ ได้แก่ มะลิทอง มะลิอ่อง จำปา และ กอดพ้อม
ก่อนที่จะมีการผสมพันธุ์ข้าวในไทย มีการส่งพันธุ์ข้าวไปผสมพันธุ์ที่เมือง Cuttack ประเทศอินเดีย สำหรับในประเทศไทย การผสมพันธุ์เริ่มครั้งแรกเมื่อปี พ.ศ. 2497 ที่สถานีทดลองข้าวสันป่าตอง และปีต่อมา พ.ศ. 2498 ที่สถานีทดลองข้าวบางเขน โดยมีวัตถุประสงค์เพื่อยกระดับผลผลิตให้สูงขึ้น โดยใช้พันธุ์ข้าวพื้นเมืองของไทย แต่ก็ไม่ค่อยประสบผลสำเร็จ จนกระทั่งปี พ.ศ. 2509 ได้นำข้าวรูปแบบต้นเตี้ยจากสถาบันวิจัยข้าวนานาชาติ (IRRI, International Rice Research Institute) เช่น ข้าว IR8 ซึ่งให้ผลผลิตสูง มาเป็นพันธุ์พ่อในการผสมพันธุ์ ทำให้ได้พันธุ์ผสม (เดิมเรียกข้าวลูกผสม แต่เมื่อมีการค้นพบข้าวลูกผสม คือ hybrid rice จึงเรียกข้าวลูกผสมเฉพาะข้าวชั่วที่ 1 หรือ F1 hybrid rice เท่านั้น) ที่ให้ผลผลิตเพิ่มขึ้นอย่างน่าพอใจ รวมทั้งมีความต้านทานโรคและแมลงศัตรูข้าวที่สำคัญ ถึงแม้คุณภาพเมล็ดและคุณภาพในการหุงต้มยังไม่เป็นที่น่าพอใจ แต่ก็ได้พันธุ์ข้าวในรูปแบบใหม่ และใช้แก้ปัญหาการระบาดของโรค เช่น ปี พ.ศ. 2518 ได้พันธุ์ข้าว กข7 ใช้แก้ปัญหาโรคขอบใบแห้ง และพันธุ์ กข23 ใช้แก้ปัญหาการระบาดของเพลี้ยกระโดดสีน้ำตาล และยังมีพันธุ์ผสมอีกมากมาย รวมทั้งพันธุ์ข้าวที่ไม่ไวต่อช่วงแสง ให้ผลผลิตสูง มีลักษณะความต้านทานโรคและแมลงหลากหลายชนิด เป็นข้าวหอม มีคุณภาพดีพิเศษ ตามลักษณะของข้าวไทย และอายุเหมาะสำหรับการปลูกในเขตนาชลประทาน
นอกจากนี้ การปรับปรุงพันธุ์ข้าวยังได้ใช้วิธีการชักนำให้เกิดการเปลี่ยนแปลงกรรมพันธุ์ โดยใช้กัมมันตภาพรังสี โดยเริ่มดำเนินการในปี พ.ศ. 2498 ปรากฏว่าในปี พ.ศ. 2520 มีการรับรองพันธุ์ข้าวนาน้ำฝน 2 พันธุ์ คือ กข6 และ กข15 และในปี 2524 รับรองอีก 1 พันธุ์ คือ กข10 ซึ่งเป็นพันธุ์ข้าวเหนียวไม่ไวต่อช่วงแสงสำหรับนาชลประทานและยังมีงานวิจัยข้าวลูกผสม (hybrid rice) ได้เริ่มดำเนินการในปี พ.ศ. 2522 รวมทั้งในปี พ.ศ. 2525 มีการใช้เทคโนโลยีชีวภาพช่วยในการปรับปรุงพันธุ์ เช่น การเพาะเลี้ยงเนื้อเยื่อ
การปรับปรุงพันธุ์ข้าวได้มีการพัฒนามาตามลำดับโดยส่วนใหญ่จะมีวัตถุประสงค์ดังนี้
1. มีศักยภาพในการให้ผลผลิตสูง เช่น รวงต่อกอมาก รวงใหญ่ ระแง้ถี่ เมล็ดต่อรวงมาก และเมล็ดมีน้ำหนักดี
2. มีคุณภาพเมล็ดดี ตามความต้องการของตลาด เช่น เมล็ดเรียวยาว คุณภาพการสีดี คุณภาพหุงต้มเป็นที่ต้องการของตลาด มีท้องไข่น้อย
3. ต้านทานต่อโรคและแมลงที่สำคัญ เช่น โรคไหม้ โรคขอบใบแห้ง เพลี้ยกระโดดสีน้ำตาลและแมลงบั่ว เป็นต้น
4. ทนทานต่อสภาพแวดล้อมที่มีปัญหา เช่น ทนแล้ง ทนดินเปรี้ยว ทนดินเค็ม ทนน้ำท่วมฉับพลัน เป็นต้น
5. มีลักษณะรูปแบบต้นที่ดี เหมาะสมกับการปลูกในนิเวศน์ต่าง ๆ ได้แก่ ข้าวนาชลประทาน ข้าวนาน้ำฝน ข้าวไร่ ข้าวขึ้นน้ำและข้าวน้ำลึก
2.1 วิธีการปรับปรุงพันธุ์ข้าว
ข้าวเป็นพืชที่มีการผสมตัวเอง การปรับปรุงพันธุ์เพื่อให้ได้ข้าวพันธุ์ใหม่หรือพันธุ์ที่ดีกว่าเดิมนั้น มีวิธีการดังนี้
2.1.1 การรวบรวมพันธุ์และการนำพันธุ์ข้าวมาจากที่อื่น (collection and introduction)
2.1.2 การคัดเลือกพันธุ์ (selection)
2.1.3 การผสมพันธุ์ (hybridization) และการคัดเลือกข้าวพันธุ์ผสมที่กระจายตัว
2.1.4 การชักนำให้เกิดการกลายพันธุ์ (induced mutation)
2.1.5 การใช้เทคโนโลยีชีวภาพและพันธุวิศวกรรม (biotechnology and genetic engineering)
2.1.6 การสร้างพันธุ์ข้าวลูกผสม (hybrid rice)
2.1.1 การรวบรวมพันธุ์และการนำพันธุ์ข้าวมาจากที่อื่น (collection and introduction)
เป็นการนำพันธุ์ข้าวจากแหล่งหนึ่งไปปลูกยังอีกแหล่งหนึ่ง โดยพันธุ์ที่นำมานี้อาจนำมาจากในประเทศหรือจากต่างประเทศ นำมาปลูกทดลองคัดเลือก ถ้าพันธุ์ใดให้ผลผลิตสูง คุณภาพเมล็ดดีและปรับตัวได้ดี จึงนำไปขยายเมล็ดพันธุ์เผยแพร่ให้เกษตรกรปลูกต่อไปส่วนพันธุ์ที่ไม่เหมาะสมแต่มีลักษณะดีเด่นบางอย่างหรือเฉพาะอย่าง จะนำไปใช้ในโครงการปรับปรุงพันธุ์ข้าวโดยวิธีการอื่น ๆ ต่อไป แหล่งเชื้อพันธุ์ข้าวจากต่างประเทศ ที่ได้นำเข้ามาปรับปรุงพันธุ์ ส่วนใหญ่จะนำมาจากสถาบันวิจัยข้าวนานาชาติ (IRRI) พันธุ์ข้าวใหม่ ๆ ที่จะได้จาก collection และ introduction เพื่อการเพาะปลูกอย่างกว้างขวาง อาจได้จากวิธีใดวิธีหนึ่งดังต่อไปนี้คือ
1) นำพันธุ์ข้าวที่นำเข้ามาแล้วปรับตัวได้ดี มาปลูกทำพันธุ์ต่อโดยตรง
2) คัดเลือกหาสายพันธุ์ที่ต้องการจากพันธุ์ข้าวต่างๆ ที่นำเข้ามา
3) ใช้สายพันธุ์ที่นำเข้ามาเป็นพ่อแม่ในการผสมพันธุ์
2.1.2 การคัดเลือกพันธุ์ (selection)
พันธุ์ข้าวที่ใช้ปลูกอยู่นั้นอาจมีความแปรปรวนทางพันธุกรรม (genetic variability ) ของลักษณะ
ต่างๆ ปรากฏอยู่ซึ่งความแปรปรวนนี้อาจเกิดได้จากหลายสาเหตุคือ
- การปะปนของพันธุ์ต่างๆ (mechanical mixture)
- การผสมข้ามกับพันธุ์อื่นๆ ในสภาพธรรมชาติ (natural out- crossing) ซึ่งมีผลทำให้เกิดการรวมตัวใหม่ทางพันธุกรรม (genetic recombination) ขึ้นได้
- การผ่าเหล่า (mutation) ซึ่งทำให้เกิดลักษณะทางพันธุกรรมใหม่ๆ
จากการที่พันธุ์ข้าวมีลักษณะทางพันธุกรรม (genotype) แปรปรวนนี้ จึงต้องมีการคัดเลือก หรือการแยกเอาพันธุ์หรือสายพันธุ์ข้าวที่มีลักษณะตามต้องการออกมาจากประชากร และต้องอาศัยวิธีการคัดเลือกซึ่งมีอยู่ 2 วิธี คือ
1) การคัดเลือกสายพันธุ์บริสุทธิ์ (pure line selection)
2) การคัดเลือกพันธุ์แบบหมู่ (mass selection)
1) การคัดเลือกสายพันธุ์บริสุทธิ์ (pure line selection)
เป็นการคัดเลือกหาสายพันธุ์ใหม่จากพืชพันธุ์ที่มีอยู่เดิม โดยคัดเลือกมาจากต้นข้าวเพียงกอเดียว ซึ่งวิธีการนี้ ไม่ได้ก่อให้เกิดลักษณะทางพันธุกรรมใหม่ ๆ เพียงแต่เป็นการคัดเลือกหาลักษณะทางพันธุกรรมที่ดีที่สุดที่ปรากฏอยู่แล้วใน mixed population โดยดำเนินการ 3 ขั้นตอน (รูปที่ 1)
1. คัดเลือกต้นข้าวที่มีลักษณะดีที่ต้องการจากประชากรที่มีความแปรปรวนในลักษณะต่าง ๆ โดยวิธีคัดเลือกต้นข้าวเป็นกอ (single-plant selection) และเก็บเกี่ยวเมล็ดแยกกันแต่ละกอ
2. นำเมล็ดที่ได้จากแต่ละกอมาปลูกเป็นแถว เลือกสายพันธุ์ที่มีลักษณะต่างๆตามต้องการไปปลูกต่อหลายชั่วอายุ สายพันธุ์ใดที่ไม่ดีคัดทิ้งไป และอาจมีการทดสอบ ความต้านทานต่อโรคและแมลงศัตรูข้าวที่สำคัญด้วย เพื่อช่วยคัดทิ้งสายพันธุ์ที่อ่อนแอออกไป จะได้ลดจำนวนสายพันธุ์ให้น้อยลงในการทดสอบขั้นต่อไป ในแต่ละชั่วยังคงคัดเลือกต้นข้าวเป็นกอ ๆ จนกระทั่งได้สายพันธุ์ที่บริสุทธิ์
3.นำสายพันธุ์ที่คัดเลือกไว้ไปปลูกเปรียบเทียบความสามารถในการให้ผลผลิตและลักษณะอื่นๆร่วมกับพันธุ์เดิมและพันธุ์มาตรฐานสายพันธุ์ที่ให้ผลผลิตสูงและลักษณะดีก็จะนำไปขยายพันธุ์และพิจารณาเป็นพันธุ์ใหม่ต่อไป
2) การคัดเลือกพันธุ์แบบหมู่ (mass selection)
วิธีนี้จะคัดเลือกข้าวที่มีลักษณะที่ปรากฏออกมาในข้าวแต่ละกอที่เหมือนกัน นำเมล็ดที่เก็บเกี่ยวจากกอที่คัดเลือกไว้มารวมกันเพื่อไว้ปลูกต่อไป (รูปที่ 2) โดยไม่มีการทดสอบในชั่วลูก (progeny test) วิธีนี้ข้าวแต่ละกอจะมีลักษณะต่างๆ ที่มองเห็นเหมือนกัน แต่ลักษณะทางพันธุกรรมอาจแตกต่างกัน พันธุ์ที่ได้จะมีความแปรปรวนทางพันธุกรรม (genetic variability) ค่อนข้างสูง จุดประสงค์สำคัญของการคัดเลือกพันธแบบุ์หมู่เพื่อปรับปรุงลักษณะโดยทั่ว ๆ ไป ของกลุ่มพืชให้ดีขึ้นกว่าเดิม ประโยชน์ที่สำคัญของวิธีนี้คือ
-ใช้ปรับปรุงพันธุ์ข้าวพื้นเมืองได้ผลรวดเร็วดี โดยนำมากำจัดข้าวบางส่วนของพันธุ์เดิมที่มีลักษณะไม่ดี ออกไป เช่น กำจัดลักษณะข้าวเจ้าออกไปจากพันธุ์ข้าวเหนียว เป็นต้น
-ใช้ในการทำพันธุ์ให้บริสุทธิ์ (purification) ในข้าวบางพันธุ์ที่ใช้ปลูกอยู่ นาน ๆ ไปอาจมีเปอร์เซ็นต์ความบริสุทธิ์ลดลง เนื่องจากการปะปนของพันธุ์อื่นหรือการผสมข้ามกับพันธุ์อื่นหรือมีการผ่าเหล่าเกิดขึ้น เราอาจนำวิธีนี้มาใช้ โดยการคัดพันธุ์ที่ไม่ต้องการทิ้งไปแล้วเก็บเกี่ยวเฉพาะพวกที่ต้องการไว้นำเมล็ดมารวมกัน อาจทำไปหลาย ๆ ชั่วอายุ จนกว่าจะได้ผลเป็นที่พอใจ
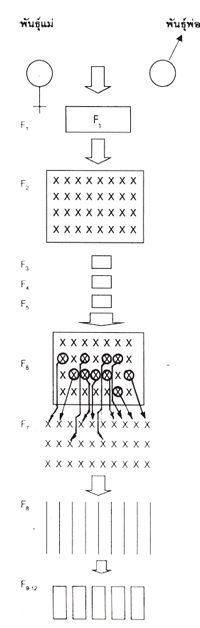
2.1.3 การผสมพันธุ์ (hybridization) และการคัดเลือกข้าวพันธุ์ผสม
เป็นวิธีการที่นำพันธุ์ต่าง ๆ มาผสมพันธุ์กัน (artificial hybridization) เพื่อจะให้ลักษณะดี ๆ ที่ปรากฏอยู่ในพันธุ์ข้าวหรือพืชต่างชนิด (species) มีโอกาสมาอยู่รวมกันในพันธุ์เดียวกัน หรือสายพันธุ์เดียวกันซึ่งมีผลจากการจัดชุดใหม่ของยีน (gene recombination) โดยมีความหวังว่าจะมีลักษณะดี ๆ ที่ไม่เคยปรากฏมาก่อนเลยในพ่อแม่เกิดขึ้น ซึ่งเป็นผลจาก transgressive segregation หรือ gene interaction ต้นข้าวในชั่วที่ 1 (F1 generation) ในแต่ละคู่ผสมจะมีลักษณะทางพันธุกรรมเหมือนกัน แต่การกระจายตัวทางพันธุกรรม (genetic segregation) ในประชากรจะเริ่มปรากฏตั้งแต่ชั่วที่ 2 (F2 generation) เป็นต้นไป
เมื่อเลือกพันธุ์พ่อและพันธุ์แม่ที่จะนำมาผสมพันธุ์แล้ว จึงพิจารณาเลือกแบบของการผสมพันธุ์เพื่อให้ได้ลักษณะที่ต้องการ ซึ่งมีหลายแบบ คือ
- การผสมเดียว (single cross) เป็นการผสมระหว่างข้าว 2 พันธุ์หรือสายพันธุ์ เช่น ผสมพันธุ์ระหว่าง เหลืองทอง กับ IR8 โดยใช้พันธุ์เหลืองทองเป็นพันธุ์แม่และ IR8 เป็นพันธุ์พ่อ
- การผสมสามทาง (three-way cross or top cross) เป็นการผสมข้าวพันธุ์หรือสายพันธุ์ที่ 3 เพื่อเพิ่มบางลักษณะลงในข้าวชั่วที่ 1 (F1)ของคู่ผสมเดี่ยว เพื่อรวมลักษณะต่าง ๆ หลายอย่างไว้ด้วยกัน A/B//C
- การผสมคู่ (double cross) เป็นการผสมพันธุ์ระหว่างข้าวชั่วที่ 1 (F1)ของคู่ผสมเดี่ยว จำนวน 2 คู่ผสม เพื่อรวมลักษณะต่าง ๆ หลายอย่างไว้ด้วยกัน A/B//C/D
- การผสมกลับ (backcross) เป็นการปรับปรุงพันธุ์ข้าวที่มีลักษณะต่าง ๆ ดีอยู่แล้ว แต่ยังขาดบางลักษณะ เช่น ความต้านทานต่อโรคหรือแมลง จึงนำเอาพันธุ์หรือสายพันธุ์ดีดังกล่าวมาใช้เป็นพันธุ์รับ (recurrent parent) นำไปผสมพันธุ์กับพันธุ์หรือสายพันธุ์อื่นที่มีลักษณะที่ต้องการอยู่เป็นพันธุ์ให้ (donor parent) เมื่อได้ F1 แล้วจึงผสมกลับไปหาพันธุ์รับ คัดเลือกหาต้นที่มีลักษณะที่ต้องการ แล้วผสมกลับไปหาพันธุ์รับอีก ทำเช่นนี้ไปเรื่อย ๆ 5-6 ครั้ง หรือมากกว่า จนได้ลักษณะส่วนใหญ่ของพันธุ์รับกลับคืนมา เมื่อสิ้นสุดการผสมกลับครั้งสุดท้ายแล้วยีนที่ต้องการถ่ายทอดจะยังคงอยู่ในสภาพ heterozygous ต้องปล่อยให้มีการผสมตัวเองต่ออีกหนึ่งชั่วจึงจะมี homozygous genotype ที่ต้องการเกิดขึ้น เมื่อทำการคัดเลือกต่อก็จะได้ข้าวพันธุ์ใหม่ที่มีลักษณะต่าง ๆ ของพันธุ์รับอยู่ พร้อมทั้งลักษณะใหม่จากพันธุ์ให้ด้วย A*3/B
การคัดเลือกสายพันธุ์ใหม่จากพันธุ์ผสมที่มีการกระจายตัวทางพันธุกรรม
เนื่องจากข้าวชั่วที่ 1 ไม่มีการกระจายตัว จึงปลูกข้าวชั่วที่ 1 แบบ hybrid check plot คือปลูกพันธุ์แม่และพันธุ์พ่อขนาบข้างต้นชั่วที่ 1 เกี่ยวกอที่เหมือนกอแม่ทิ้ง เก็บเมล็ดทั้งหมด เพื่อปลูกฤดูต่อไปเป็นชั่วที่ 2 คัดเลือกกอที่มีลักษณะตามต้องการซึ่งจะมีการกระจายตัวในลักษณะต่าง ๆ ตั้งแต่ชั่วที่ 2 เป็นต้นไป การคัดเลือกพันธุ์ผสมอาจทำได้ 4 วิธีคือ
1) การคัดพันธุ์ข้าวแบบสืบตระกูล (pedigree method)
เป็นการคัดเลือกหากอที่มีลักษณะดีในทุก ๆ ชั่วอายุ โดยเริ่มจาก F2 โดยทำการคัดเลือกข้าวเป็นกอและนำไปปลูกกอต่อแถวต่อไป (รูปที่ 3) ตามขั้นตอนดังนี้
- ปลูกข้าวชั่วที่ 2 เลือกเก็บเกี่ยวรวงข้าวจากต้นข้าวแต่ละกอที่มีลักษณะดีที่ต้องการแยกกันไว้
- ปลูกข้าวชั่วที่ 3 โดยนำเมล็ดจากแต่ละกอในชั่วที่ 2 มาปลูกเป็นแถว คัดเลือกกอที่มีลักษณะดีเก็บเมล็ดแต่ละกอแยกกันไว้
- ปลูกข้าวชั่วที่ 4-5 และคัดเลือกเช่นเดียวกับชั่วที่ 3
- ปลูกข้าวชั่วที่ 6 คัดเลือกแถวที่มีลักษณะดีที่ต้องการ เก็บเกี่ยวเมล็ดทั้งแถวในแปลงที่มีความสม่ำเสมอดี แล้วนำไปปลูกศึกษาพันธุ์
- ปลูกศึกษาพันธุ์ คัดเลือกสายพันธุ์ดี ที่มีความสม่ำเสมอไปปลูกเปรียบเทียบผลผลิตร่วมกับสายพันธุ์อื่น ๆและพันธุ์มาตรฐาน ทั้งในสถานี ระหว่างสถานี และในนาเกษตรกร นำสายพันธุ์ ข้าวที่ให้ผลผลิตสูง และมีลักษณะดีตามต้องการไปพิจารณาแนะนำให้เกษตรกรปลูกต่อไป
2) การคัดพันธุ์แบบรวม (bulk method)
ปลูกข้าวชั่วที่ 2-4 แบบรวมกันและเก็บเมล็ดมารวมกัน โดยไม่มีการคัดเลือกในแต่ละชั่วอายุ (รูปที่ 4 ) จนกระทั่งชั่วที่ 4 หรือ 5 คัดเลือกตามวัตถุประสงค์ที่ตั้งไว้ เพราะข้าวที่ได้จะมีลักษณะสม่ำเสมอ (homozygous) แล้ว นำไปปลูกกอต่อแถวในชั่วที่ 5 หรือ 6 ศึกษาพันธุ์และเปรียบเทียบผลผลิตเช่นเดียวกับการคัดพันธุ์แบบสืบตระกูล การคัดพันธุ์แบบรวมนี้เป็นวิธีการที่สะดวกในการดำเนินการสำหรับชั่วแรก ๆ ในกรณีที่มีจำนวนคู่ผสมที่จะต้องคัดเลือกเป็นจำนวนมาก แต่จะต้องปลูกประชากรในแต่ละชั่วอายุให้มากเพราะไม่มีการคัดเลือกในชั่วแรกๆ ซึ่งอาจทำให้สูญเสียลักษณะทางพันธุกรรมที่ดีไป และการคัดเลือกแบบนี้จะเป็นการให้ธรรมชาติช่วยคัดเลือกให้แต่เพียงอย่างเดียว นักปรับปรุงพันธุ์จึงอาจช่วยคัดเลือกไปด้วย โดยคัดเลือกต้นที่มีลักษณะดีที่ต้องการ และเก็บเมล็ดจากกอเหล่านั้นรวมกัน แล้วนำไปปลูกต่อไป ซึ่งอาจจะแยกเป็นกลุ่ม เช่น อายุเบา อายุกลาง หรืออายุหนักได้อีกด้วย วิธีการนี้อาจเรียกว่า modified bulk method นอกจากนี้ยังมีการดัดแปลงวิธีการคัดพันธุ์แบบรวมไปใช้ในอีกรูปแบบหนึ่ง เรียกว่า bulk population โดยจะใช้ในกรณีที่มีพันธุ์ที่ต้องการใช้ในการผสมพันธุ์เป็นจำนวนมาก และการเลือกคู่ผสมเฉพาะบางคู่อาจไม่ได้ลักษณะที่ต้องการ การคัดเลือกข้าวพันธุ์ผสมทุก ๆคู่ เป็นการเสียเวลาและแรงงาน แก้ไขโดยการผสมพันธุ์พบกันหมดในทุกคู่ผสม เช่น ถ้ามีอยู่ 5 พันธุ์จะได้คู่ผสมทั้งหมด 10 คู่ผสม นำเมล็ดชั่วที่ 2 จากแต่ละคู่ผสมจำนวนเท่ากันมารวมกัน เรียกคู่ผสมลักษณะแบบนี้ว่า composite cross นำเมล็ดพันธุ์ไปปลูก ซึ่งควรปลูก 10,000 ต้นขึ้นไป เพราะมีความแปรปรวนทางพันธุกรรมกว้าง แล้วเก็บเกี่ยวเมล็ดรวมกัน เมื่อปลูกคัดเลือกได้ 8-10 ชั่วอายุ ก็สามารถนำไปทดสอบผลผลิตได้
3) การปลูกและคัดเลือกข้าวพันธุ์ผสมแบบเร่งชั่วอายุ (rapid generation advance หรือ RGA)
ข้าวพันธุ์ผสมที่มีพ่อหรือแม่เป็นข้าวไวต่อช่วงแสง หรือทั้งพ่อ-แม่เป็นข้าวไวต่อช่วงแสงซึ่งปกติมักจะทำการผสมพันธุ์ข้าวในฤดูนาปี จะให้ลูกชั่วที่ 1 เป็นข้าวไวต่อช่วงแสงซึ่งออกดอกได้เฉพาะในฤดูนาปี จึงใช้เวลานานหลายปีในการคัดเลือกหาสายพันธุ์ใหม่จากพันธุ์ผสมที่มีการกระจายตัวทางพันธุกรรม การปลูกแบบเร่งชั่วอายุสามารถย่นระยะเวลาในการปลูกและคัดเลือกให้ได้สายพันธุ์ที่อยู่ตัว (fixed line) เร็วขึ้นเพราะในเวลา 1 ปี สามารถปลูกได้ 3-4 ชั่วอายุ การปลูกและคัดเลือกข้าวพันธุ์ผสมแบบเร่งชั่วอายุเป็นการปลูกและคัดเลือกแบบรวมร่วมกับแบบสืบตระกูล ซึ่งมีวิธีการดังนี้
นำเมล็ดที่ผสมพันธุ์ได้ทั้งหมดไปปลูกเป็นชั่วที่ 1 เก็บเกี่ยวเมล็ดไปปลูกในชั่วที่ 2 คัดเลือกกอที่มีลักษณะที่ต้องการ จากนั้นนำเมล็ดชั่วที่ 3 ที่คัดเลือกไว้ปลูกในกระถางเล็ก จำนวน 1 ต้น / กระถาง เมื่อต้นข้าวอายุประมาณ 15 วัน นำไปเข้าห้องมืดเพื่อชักนำให้เกิดรวง โดยนำเข้าห้องมืดเวลา 17.00 น. แล้วนำออกจากห้องมืดเวลา 07.00 น.หรืออยู่ในห้องมืดไม่น้อยกว่า 12 ชั่วโมง ทุกวันประมาณ 21 วัน แล้วนำไปไว้ในกรงกันนกจนข้าวออกรวง ซึ่งจะใช้เวลาตั้งแต่ปลูกจนถึงเก็บเกี่ยวประมาณ 75-80 วัน เมื่อข้าวมีอายุพร้อมที่จะเก็บเกี่ยว เก็บ 1 เมล็ดในแต่ละกอมารวมกันเพื่อนำไปปลูกในชั่วต่อไป ทำเช่นเดียวกันนี้ 3-4 ครั้งจึงเก็บเกี่ยวทั้งกอ นำไปปลูกกอต่อแถว แบบสืบตระกูลตามปกติ เลือกกอที่มีลักษณะต่าง ๆ ดี นำไปศึกษาพันธุ์ต่อไป
การปลูกแบบเร่งชั่วอายุ อาจนำไปเข้าและออกจากห้องมืดตั้งแต่ชั่วที่ 1 ไปจนถึงชั่วที่ 6 หรือนำไปปลูกเร่งชั่วอายุในชั่วที่ 2 ถึงชั่วที่ 5 หรือ 6 โดยในชั่วที่ 1 และ 2 ปลูกแบบปกติ คือ ชั่วที่ 1 ปลูกแบบ hybrid check plot เก็บเกี่ยวนำไปปลูกชั่วที่ 2 แบบรวมหมู่ จำนวน 5,000 ต้น/คู่ผสม นำเมล็ดจากกอที่ได้เลือกไว้มารวมกัน นำไปปลูกแบบเร่งชั่วอายุ จนถึงชั่วที่ 5 หรือ 6 จึงนำไปปลูกแบบสืบตระกูล เลือกกอที่มีลักษณะดีนำไปศึกษาพันธุ์ต่อไป
4) การคัดเลือกข้าวพันธุ์ผสมโดยใช้โมเลกุลเครื่องหมาย (marker assisted selection หรือ MAS)
ความก้าวหน้าทางเทคโนโลยีด้านชีวโมเลกุล ช่วยให้นักวิจัยสามารถตรวจสอบพันธุกรรมของลักษณะที่ซับซ้อนได้ง่ายขึ้น โมเลกุลเครื่องหมายได้ถูกนำมาใช้ในการสร้างแผนที่โครโมโซมและกำหนดตำแหน่งของยีนที่ควบคุมลักษณะต่าง ๆ ของพืชที่มีความสำคัญหลายชนิด เช่น ข้าว มะเขือเทศ พริก ข้าวโพด ฯลฯ และจากการศึกษาความสัมพันธ์ (linkage) ระหว่างดีเอ็นเอเครื่องหมายและลักษณะที่สนใจ ทำให้สามารถนำดีเอ็นเอเครื่องหมายมาใช้ในการคัดเลือกลักษณะนั้น ๆ ได้
2.1.4 การชักนำให้เกิดการกลายพันธุ์ (induce mutation)
เป็นวิธีการที่ทำให้ข้าวมีการเปลี่ยนแปลงทางพันธุกรรมอย่างรวดเร็ว ซึ่งการเปลี่ยนแปลงที่เกิดขึ้นอาจมีผลทำให้ยีนมีการสูญหาย หรือเพิ่มขึ้น หรือเกิดการเปลี่ยนแปลงจากยีนเด่นเป็นยีนด้อย ยีนด้อยเป็นยีนเด่น แต่ลักษณะของยีนเด่นเป็นยีนด้อยค่อนข้างจะมีโอกาสพบได้มากกว่า การชักนำให้เกิดการกลายพันธุ์อาจทำได้โดย
- ใช้กัมมันตภาพรังสี เช่น x-rays, neutron และ gamma rays
- ใช้สารเคมี เช่น ethyl methane sulfonate (EMS), methyl methane sulfonate
ลักษณะที่เปลี่ยนแปลงได้ง่ายโดยวิธีนี้ได้แก่ การเป็นข้าวเหนียวและข้าวเจ้า อายุเบาและอายุหนัก ต้นสูงและต้นเตี้ย และลักษณะความต้านทานต่อโรค วิธีการคัดเลือกสายพันธุ์ข้าวจากประชากรที่กลายพันธุ์ใช้วิธีเดียวกันกับการคัดเลือกสายพันธุ์ข้าวที่ได้จากการผสมพันธุ์
2.1.5 การใช้เทคโนโลยีชีวภาพและพันธุวิศวกรรม (biotechnology and genetic engineering)
เป็น่วิธีการหนึ่งในการปรับปรุงพันธุ์ โดยการสร้างพันธุกรรมใหม่ ๆ ให้เกิดขึ้น โดยอาศัยเทคนิคการเพาะเลี้ยงเนื้อเยื่อ (tissue culture) การเชื่อมโปรโตพลาสต์เข้าด้วยกัน (protoplast fusion) และการใช้เทคนิคพันธุวิศวกรรม (genetic engineering) การใช้เทคโนโลยีชีวภาพและพันธุวิศวกรรมอาจจะช่วยลดระยะเวลาในการพัฒนาพันธุ์ข้าวพันธุ์ใหม่แต่ละพันธุ์ให้สั้นลงได้ โดยได้ลักษณะพันธุ์ข้าวตามต้องการได้ง่ายขึ้น แต่ปัจจุบันยังดำเนินการเป็นผลสำเร็จไปได้ไม่มากนัก ยังมีความจำเป็นต้องศึกษาและวิจัยต่อไป
2.1.6 การสร้างพันธุ์ข้าวลูกผสม (hybrid rice)
ข้าวลูกผสม หรือ hybrid rice หมายถึง ข้าวลูกผสมชั่วที่ 1 (F1) ที่ได้จากการผสมพันธุ์ระหว่างพ่อแม่ที่มีพื้นฐานทางพันธุกรรม (genetic background) ต่างกัน ซึ่งในทางทฤษฎีเมื่อนำพ่อแม่ที่มีความแตกต่างกันมาผสมพันธุ์กัน ลูกผสมชั่วที่ 1 จะมีความแข็งแรงหรือมีความดีเด่นในลักษณะบางอย่าง เช่น ผลผลิตเหนือกว่าพ่อแม่ (hybrid vigor หรือ heterosis) ซึ่งอาจเป็นความดีเด่นเหนือกว่าค่าเฉลี่ยของพ่อแม่ หรืออาจเหนือกว่าพ่อหรือแม่ที่ดีกว่า การผลิตข้าวลูกผสมจะต้องประกอบด้วยขั้นตอนต่าง ๆ คือ
1) การสร้างสายพันธุ์เรณูเป็นหมัน โดยปกติสายพันธุ์เหล่านี้จะเป็น cytoplasmic genetic male sterile line หรือเรียกกันโดยทั่วไปว่า CMS line หรือ A line
2) การสร้างสายพันธุ์รักษาความเป็นหมัน (maintainer line) หรือเรียกว่า B line ซึ่ง B line นี้จะมีลักษณะทุกอย่างเหมือนกับ A line ยกเว้นแต่จะมี cytoplasm ปกติ และไม่เป็นหมัน
3) การสร้างสายพันธุ์แก้ความเป็นหมัน (restorer line) หรือเรียกกันว่า R line สายพันธุ์ข้าวนี้จะมียีนซึ่งเรียกว่า restorer gene ซึ่งเมื่อนำมาผสมพันธุ์กับ A line แล้วจะให้ลูกผสม F1 ซึ่งไม่เป็นหมัน
4) การนำสายพันธุ์ข้าวทั้ง A B และ R lines มาใช้ในการผลิตข้าวลูกผสม จะต้องศึกษาถึงความสามารถในการรวมตัว (combining ability) ของสายพันธุ์ข้าวที่ใช้ เพื่อให้ได้ลูกผสมที่มีศักยภาพในการให้ผลผลิตสูง
โดยปกติข้าวลูกผสมควรให้ผลผลิตสูงกว่าพันธุ์แท้ที่ให้ผลผลิตสูงไม่น้อยกว่า 20 % นอกจากนี้วิธีการผลิตเมล็ดพันธุ์ข้าวลูกผสมยังมีปัจจัยที่เกี่ยวข้องกับการให้ผลผลิตเมล็ดพันธุ์ข้าวลูกผสม เช่น อัตราส่วนระหว่างสายพันธุ์ A และ R และอายุวันออกดอก
2.2 ขั้นตอนการปรับปรุงพันธุ์
2.2.1 การคัดเลือกพันธุ์
สายพันธุ์ข้าวที่ได้จากการปรับปรุงพันธุ์โดยวิธีการต่าง ๆ และได้ทำการคัดเลือกตามวิธีการต่าง ๆ ดังกล่าวมาแล้ว จนได้สายพันธุ์ที่คงตัวทางพันธุกรรมแล้ว จะนำไปทำการศึกษาพันธุ์และเปรียบเทียบผลผลิตต่อไป
2.2.2 การศึกษาพันธุ์ (observation)
การศึกษาพันธุ์เป็นการศึกษาลักษณะประจำพันธุ์ที่สำคัญ และคัดเลือกสายพันธุ์ที่มีลักษณะต่าง ๆ ที่ดีก่อนนำไปเปรียบเทียบผลผลผลิตภายในสถานีหรือระหว่างสถานีต่อไป การศึกษาพันธุ์ มี 2 ขั้นตอน คือ
1) การศึกษาพันธุ์ขั้นต้น (single row หรือ 2 row observation) ปลูกข้าวสายพันธุ์ละ 1 หรือ 2 แถว โดยมีพันธุ์มาตรฐานเป็นพันธุ์เปรียบเทียบ เพื่อศึกษาลักษณะต่าง ๆของสายพันธุ์ข้าว จะใช้ในข้าวพันธุ์ผสมที่ค่อนข้างสม่ำเสมอ และมีจำนวนสายพันธุ์ที่อยู่ระหว่างการคัดเลือกเป็นจำนวนมาก มีรูปแบบทรงต้นดี และรูปร่างของเมล็ดภายในรวงใกล้เคียงกัน นำเมล็ดข้าวพันธุ์ผสมสายพันธุ์ละ 1 กอ มาปลูกศึกษาพันธุ์ จำนวน 1 หรือ 2 แถว โดยมีพันธุ์มาตรฐานเปรียบเทียบทุก 10 หรือ 20 สายพันธุ์ เพื่อศึกษาลักษณะต่างๆ ของพันธุ์ข้าว คือ รูปแบบทรงต้น วันออกดอก 50 % ลักษณะเมล็ด การมีท้องไข่ และปฏิกิริยาต่อโรคและแมลงที่สำคัญ คัดเลือกสายพันธุ์ที่มีลักษณะต่างๆ ดี โดยเก็บเกี่ยวสายพันธุ์ละ 1-4 กอ เพื่อนำไปศึกษาพันธุ์ 4 แถวต่อไป
2) การศึกษาพันธุ์ขั้นสูง ( 4 row observation) เป็นการประเมินผลผลิตขั้นต้น หรือศึกษาลักษณะต่างๆ ของสายพันธุ์ข้าว ซึ่งผ่านการทดสอบจากการศึกษาพันธุ์ขั้นต้น ใช้ในข้าวพันธุ์ผสมที่มีลักษณะคงตัวทางพันธุกรรมแล้ว โดยนำมาปลูกสายพันธุ์ละ 4 แถว จำนวน 1 ถึง 2 ซ้ำ มีพันธุ์มาตรฐานเปรียบเทียบทุกสายพันธุ์ที่ 10 หรือ 20 เลือกสายพันธุ์ที่มีลักษณะต่างๆ ตรงตามวัตถุประสงค์ และมีความสม่ำเสมอ เก็บเกี่ยว 2 แถวกลาง เว้นกอหัวท้าย เพื่อชั่งน้ำหนักสำหรับเปรียบเทียบผลผลิต พร้อมทั้งเลือกเก็บเกี่ยวรวงจากแถวข้าง 2 แถว ประมาณ 100 รวง เพื่อใช้เป็นเมล็ดพันธุ์เพิ่มเติมในการทดลองเปรียบเทียบผลผลิตต่อไป สำหรับบางสายพันธุ์ที่ยังมีการกระจายตัวอยู่บ้าง ทำการคัดเลือก 1 กอนำไปปลูกศึกษาซ้ำ หลังจากกะเทาะดูท้องไข่แล้วพิจารณาข้อมูลทั้งผลผลิต การมีท้องไข่ และความต้านทานต่อโรคและแมลง เลือกสายพันธุ์ที่มีความดีเด่นกว่าพันธุ์มาตรฐานอย่างน้อยในลักษณะที่สำคัญ 1 หรือ 2 ลักษณะ และมีลักษณะอื่น ๆ ใกล้เคียงกัน เพื่อนำไปประเมินต่อในชั้นเปรียบเทียบผลผลิต
2.2.3 การเปรียบเทียบผลผลิต มี 3 ขั้นตอน คือ
1) การเปรียบเทียบผลผลิตภายในสถานี (Intra-station yield trial) นำสายพันธุ์ที่คัดเลือกได้จากแปลงศึกษาพันธุ์มาปลูกเปรียบเทียบผลผลิตภายในศูนย์วิจัยข้าว เพื่อคัดเลือกหาสายพันธุ์ที่ดีเด่น นำไปทดสอบผลผลิตระหว่างสถานีต่อไป แต่ละการทดลองจะมีตั้งแต่ 8-24 สายพันธุ์ ทั้งนี้ขึ้นอยู่กับจำนวนสายพันธุ์ที่คัดเลือกได้จากแปลงศึกษาพันธุ์แบ่งการทดลองโดยจัดให้ข้าวที่มีอายุใกล้เคียงกันอยู่ในการทดลองเดียวกันในแต่ละการทดลอง มีพันธุ์ที่รัฐบาลส่งเสริมให้ปลูกเป็นพันธุ์มาตรฐานเปรียบเทียบ 1-4 พันธุ์ โดยวางแผนการทดลองแบบ Randomized Complete Block (RCB) มี 3-4 ซ้ำ ในแต่ละซ้ำ ปลูกสายพันธุ์ละ 5 หรือ 6 แถว ๆ ยาว 5 เมตร ระยะระหว่างกอและแถว 20 x 20 เซนติเมตร (ข้าวไม่ไวต่อช่วงแสง) 25 x 25 เซนติเมตร (ข้าวไวต่อช่วงแสง) จำนวน 3-5 ต้นต่อกอ เพื่อให้สายพันธุ์ที่ทดลองแสดงออกถึงความสามารถในการให้ผลผลิตเต็มที่ จึงจำเป็นต้องใช้ปุ๋ยในอัตราที่พอเหมาะ คือ ข้าวไม่ไวต่อช่วงแสงใส่ปุ๋ยอัตรา 12-6-6 กิโลกรัม N-P2O5-K2O ต่อไร่ ส่วนข้าวไวต่อช่วงแสงใส่ปุ๋ยอัตรา 6-6-6 กิโลกรัม N-P2O5-K2O ต่อไร โดยปุ๋ยไนโตรเจนแบ่งใส่ 2 ครั้งๆ ละเท่ากัน ครั้งแรกใส่ก่อนปักดำ 1 วัน และครั้งที่สองใส่ในระยะข้าวเริ่มกำเนิดช่อดอก มีการป้องกันและกำจัดวัชพืช โรคและแมลงตามความจำเป็น เก็บเกี่ยว 3 แถวกลาง (จากการปลูก 5 แถว) หรือ 4 แถวกลาง (จากการปลูก 6 แถว) เว้นกอหัวท้าย นวด ตากให้แห้งชั่งน้ำหนัก และวัดความชื้นเมล็ด เพื่อคำนวณผลผลิตเป็นกิโลกรัมต่อไร่ ที่ความชื้นของเมล็ด 14 % แล้วนำไปวิเคราะห์ผลทางสถิติ พิจารณาข้อมูลต่าง ๆ เปรียบเทียบกับพันธุ์มาตรฐาน เพื่อเลือกสายพันธุ์ที่ดีเด่น นำไปเปรียบเทียบผลผลิตระหว่างสถานีต่อไป
2) การเปรียบเทียบผลผลิตระหว่างสถานี (Inter-station yield trial) เป็นการนำสายพันธุ์ข้าวที่คัดเลือกได้จากการทดลองเปรียบเทียบผลผลิตภายในสถานี มาปลูกเปรียบเทียบผลผลิตระหว่างสถานีโดยการทดลองหนึ่งดำเนินการพร้อมกันหลายแห่งในหลายศูนย์วิจัยข้าว มีวิธีการจัดการแปลงทดลองตั้งแต่รูปแบบการทดลอง การปลูก การใส่ปุ๋ย การปฏิบัติดูแลรักษา การบันทึกข้อมูลและการเก็บเกี่ยว เช่นเดียวกับการเปรียบเทียบผลผลิตภายในสถานีเพื่อตรวจสอบความสามารถในการให้ผลผลิตของสายพันธุ์ในพื้นที่หลายแห่ง เลือกสายพันธุ์เด่นที่ให้ผลผลิตสูงกว่าพันธุ์เปรียบเทียบ และมีลักษณะต่าง ๆ ดี นำไปทดสอบความสามารถในการให้ผลผลิตในสภาพนาของเกษตรกรต่อไป
3) การทดสอบผลผลิตในนาเกษตรกร (Farmer yield trial or On-farm trial) เป็นการประเมินผลผลิตขั้นสุดท้ายเพื่อทดสอบความสามารถในการให้ผลผลิตในสภาพแวดล้อมต่าง ๆ โดยนำสายพันธุ์ข้าวดีเด่น
จากการทดลองเปรียบเทียบผลผลิตระหว่างสถานี ประมาณ 5-10 สายพันธุ์ ไปปลูกเปรียบเทียบกับพันธุ์ข้าวที่แนะนำให้ปลูกและพันธุ์ข้าวที่เกษตรกรนิยมปลูกจำนวน 2-3 พันธุ์ วางแผนการทดลองแบบ RCB จำนวน 4 ซ้ำ ขนาดเปลงย่อยสายพันธุ์ละ 4x5 เมตร ปลูกโดยวิธีปักดำ ระยะ 20x20 เซนติเมตร (ข้าวไม่ไวต่อช่วงแสง) หรือ 25x25 เซนติเมตร (ข้าวไวต่อช่วงแสง) หรือปลูกวิธีหว่านน้ำตม อัตราเมล็ดพันธุ์ 15 กิโลกรัมต่อไร่ ข้าวไม่ไวต่อช่วงแสงใส่ปุ๋ยรองพื้นสูตร 16-20-0 หรือ 16-16-8 อัตรา 35 กิโลกรัมต่อไร่ สำหรับข้าวไวต่อช่วงแสงใส่ปุ๋ยรองพื้นสูตร 16-20-0 หรือ 16-16-8 อัตรา 20 กิโลกรัมต่อไร่ และใส่ปุ๋ยครั้งที่ 2 ด้วยปุ๋ยแอมโมเนียมซัลเฟตอัตรา 15 กิโลกรัมต่อไร่ ป้องกันกำจัดวัชพืช โรค-แมลง ตามความจำเป็น เก็บเกี่ยวผลผลิตในพื้นที่ 2x4 เมตร (นาดำ) และ 2x5 เมตร (นาหว่านน้ำตม) เลือกสายพันธุ์ที่ดีกว่าพันธุ์มาตรฐานเปรียบเทียบ ทั้งในด้านการให้ผลผลิต คุณภาพเมล็ด และความต้านทานต่อโรคและแมลงที่สำคัญหรือมีลักษณะ ตรงตามวัตถุประสงค์ของการปรับปรุงพันธุ์เพื่อเสนอเป็นพันธุ์รับรองต่อไป
นอกจากนี้อาจจะมีการศึกษาเสถียรภาพการให้ผลผลิตในสภาพแวดล้อมที่แตกต่างกัน ถ้าพันธุ์ข้าวมีเสถียรภาพสูงในการให้ผลผลิต แสดงว่า เป็นพันธุ์ที่สามารถนำไปปลูกในพื้นที่ต่างๆ ได้ หลากหลาย ทั้งในสภาพแวดล้อมที่ดีและไม่ดี โดยจะให้ผลผลิตค่อนข้างคงที่ ทำการทดลองในศูนย์วิจัยข้าวหลายๆ แห่ง (ปกติควรจะทดลอง ในนาเกษตรกร แต่พบว่าผลผลิตมีความแปรปรวนมาก ส่วนใหญ่จะเสียหายเนื่องจากภัยธรรมชาติ เช่น น้ำท่วม แห้งแล้ง และการทำลายของนก หนู หอยเชอรี่ โรคและแมลงศัตรูข้าว) โดยนำสายพันธุ์ข้าวดีเด่นชุดเดียวกับที่ทดสอบในนาเกษตรกร มาเปรียบเทียบผลผลิตในศูนย์ฯ หลาย ๆ แห่งพร้อมกัน มีวิธีการทดลองและการปฏิบัติต่าง ๆ เช่นเดียวกับการเปรียบเทียบผลผลิตระหว่างสถานี และเพิ่มการบันทึกสภาพแวดล้อมต่าง ๆ ของแปลงทดลอง เช่น ลักษณะดิน อุณหภูมิเฉลี่ยต่ำสุดและสูงสุด และปริมาณฝนในช่วงปลูก การระบาดของโรคแมลง ฯลฯ หลังการเก็บเกี่ยวข้าวแล้ว นำข้อมูลผลผลิตมาวิเคราะห์เสถียรภาพของผลผลิตตามวิธีของ Eberhart and Russell (1996)
ในการทดลองเปรียบเทียบผลผลิต จะต้องทำการบันทึกข้อมูลต่าง ๆ อย่างละเอียดตาม SES (Standard Evaluation System) ของ IRRI (IRRI, 2005) และตามคู่มือการเก็บข้อมูลพันธุ์ข้าว (สถาบันวิจัยข้าว, 2531) ซึ่งได้แก่ ลักษณะรูปแบบต้น ความสูง การแตกกอ การล้ม อายุตั้งแต่วันตกกล้าจนถึงวันเก็บเกี่ยว วันออกดอก 50% ปฏิกิริยาต่อโรคแมลงที่สำคัญจากแปลงทดลองในสภาพธรรมชาติและจากการทดลองในเรือนทดลอง ลักษณะคุณภาพเมล็ดทางกายภาพซึ่งประกอบด้วย ขนาด รูปร่าง ท้องไข่และลักษณะเมล็ดทางเคมี ได้แก่ กลิ่นหอม เปอร์เซ็นต์อมิโลส (amylose) ความคงตัวของแป้งสุก การยืดตัวของเมล็ดข้าวสุก
 |
-เมล็ดพันธุ์จากการรวบรวมพันธุ์ |
| -ปลูกข้าวพันธุ์ต่าง ๆ ที่รวบรวมมาหรือพันธุ์ที่มีความแปรปรวนมาก เช่น วันออกดอก หรือความสูงแตกต่างกันมาก คัดเลือกและเก็บเกี่ยวเมล็ดจากต้นที่มีลักษณะดีแยกกันไว้ |
| - นำเมล็ดจากแต่ละต้นมาปลูกเป็นแถว คัดแถวที่มีลักษณะไม่ดีทิ้งไป และคัดต้นที่ดีที่สุดจากแถวที่เหลือแยกกันไว้อีก |
| -ทำแบบเดิมไปเรื่อย ๆ จนกว่าต้นข้าวในแต่ละแถวจะมีลักษณะต่าง ๆ สม่ำเสมอดี |
| -นำเมล็ดจากแถวที่มีลักษณะดีและสม่ำเสมอไปปลูกศึกษาพันธุ์ขั้นต้น |
| -ทดสอบผลผลิตร่วมกับพันธุ์มาตรฐาน |
รูปที่ 1 ขั้นตอนในการคัดเลือกสายพันธุ์บริสุทธิ์ (pure line selection) จากข้าวพันธุ์ต่าง ๆจำนวนมาก ที่รวบรวมมาได้ หรือจากข้าวพันธุ์ที่มีความแปรปรวนมาก
 |
- ปลูกข้าวพันธุ์ที่มีความแปรปรวนมาก เช่น วันออกดอกหรือความสูงแตกต่างกัน เก็บเกี่ยวเมล็ดจากต้นที่มีลักษณะใกล้เคียงกันตามต้องการ นำเมล็ดมารวมเข้าด้วยกัน |
- ปลูกและคัดเลือกเช่นเดียวกัน ทำเช่นนี้ไปเรื่อย ๆ จนกว่าจะได้ข้าวที่มีความสม่ำเสมอดี จึงนำไปปลูกทดสอบผลผลิตร่วมกับพันธุ์อื่น ๆ หรือนำไปขยายพันธุ์ให้ชาวนานำไปปลูกต่อไป |
|
- ข้าวพันธุ์เดิมที่ได้รับการปรับปรุงให้ดีขึ้น
|
รูปที่ 2 ขั้นตอนในการคัดเลือกพันธุ์แบบหมู่ (mass selection) จากข้าวพันธุ์ที่มีลักษณะไม่สม่ำเสมอ เพื่อปรับปรุงให้มีลักษณะดีขึ้น
 |
- คัดเลือกพันธุ์ข้าวที่มีลักษณะตามต้องการนำมาผสมพันธุ์ |
- ปลูกเมล็ดที่ผสมได้ทั้งหมดแล้วตรวจว่าเป็นพันธุ์ผสมจริงหรือไม่ เกี่ยวต้นที่เกิดจากการผสมตัวเองทิ้ง (hybrid check plot) |
- ปลูก 5,000 กอ ๆ ละต้น เลือกเก็บเกี่ยวกอที่มีลักษณะดีแยกกันไว้ |
- นำกอ (สายพันธุ์) ที่เลือกไว้มาปลูกกอ/แถวหรือรวง/แถว เลือกเกี่ยวกอที่มีลักษณะดีในแต่ละสาย พันธุ์ ๆ ละ 1-3 กอ แยกกันไว้ |
- ทำเช่นเดียวกับ F3 เกี่ยวรวมในสายพันธุ์ที่มีลักษณะดีและอยู่ตัวนำไปศึกษาพันธุ์และ เลือกกอที่ยังไม่อยู่ตัวนำไปปลูกต่อ |
| - ทำเช่นเดียวกับ F4 |
| - ทำเช่นเดียวกับ F3 |
| - ปลูกศึกษาพันธุ์ร่วมกับสายจากคู่ผสมอื่น ๆ |
| - เปรียบเทียบผลผลิตภายในสถานี เปรียบเทียบผลผลิตระหว่างสถานี และทดสอบผลผลิตในนาเกษตรกร |
รูปที่ 3 ขั้นตอนในการคัดพันธุ์ข้าวแบบสืบตระกูล (pedigree method) ภายหลังการผสมพันธุ์ข้าว
 |
- คัดเลือกพันธุ์ข้าวที่มีลักษณะตามต้องการมาผสม |
- ปลูกเมล็ดที่ผสมได้ทั้งหมด แล้วตรวจว่าเป็นข้าวพันธุ์ผสมจริงหรือไม่ เกี่ยวต้นที่เกิดจากการผสมตัวเองทิ้ง |
- ปลูก 5,000 กอ ๆ ละต้นเก็บเกี่ยวเมล็ด 1 รวง จากทุกต้นมารวมกัน เพื่อปลูกในชั่วต่อไป |
|
- ทำเช่นเดียวกับ F2 |
| - ทำเช่นเดียวกับ F3 |
| - ทำเช่นเดียวกับ F4 |
- ปลูก 5,000 กอ ๆ ละต้น เลือกเก็บเกี่ยวกอที่มีลักษณะดีแยกกันไว้ |
| |
| - นำกอ (สายพันธุ์) ที่เลือกมาปลูก กอ / แถวหรือ รวง/ แถว คัดเลือกแถวที่มีลักษณะดี และสม่ำเสมอเกี่ยวรวมกันเพื่อปลูกศึกษาพันธุ์ |
| - ปลูกศึกษาพันธุ์ร่วมกับสายพันธุ์จากคู่ผสมอื่น ๆ |
- เปรียบเทียบผลผลิตภายในสถานี
- เปรียบเทียบผลผลิตระหว่างสถานี
- ทดสอบผลผลิตในนาเกษตรกร |
รูปที่ 4 ขั้นตอนในการคัดพันธุ์แบบรวม (bulk method) ภายหลังการผสมพันธุ์ข้าว